Прибор Росс-Майлса
Предзаказ
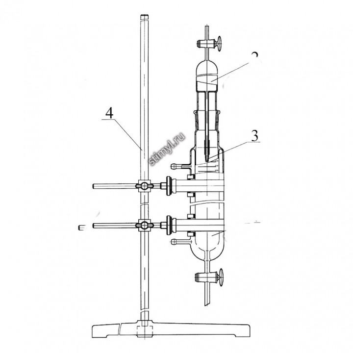
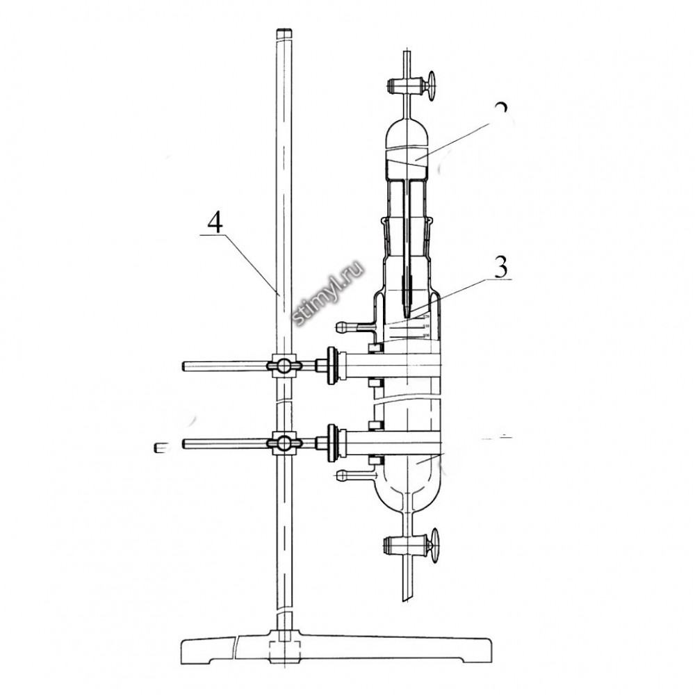
Прибор Росс-Майлса применяется для определения пенообразующей способности пеномоющих, порошкообразных, пастообразных и других моющих средств по методике ГОСТ 22567.1-77. Состоит из:
- мерного цилиндра,помещенного в водяную рубашку, снабженную двумя выводами для соединения с термостатом
- сосуда
- пипетки
- прибор закрепляется на штативе
- Цена деления шкалы, мм - 2
- Предел допускаемой погрешности, мм - ± 2
- Габаритные размеры, мм - 400х 310х1630
- Шифр со штативом - 827
- Шифр без штатива - 1435
- ТУ 4321-001-07609129-00
| Шифр изделий, входящих в прибор | |
| 2161 | Пипетка |
| 2360 | Сосуд |
Характеристики
ГОСТ/ТУ
4321-001-07609129-00
Материал
Стекло
Документы
Документы на товар доступны только клиентам. Свяжитесь с нами и мы вышлем на ваш e-mail:
- сертификаты
- паспорта
- инструкции
- ГОСТ и ТУ
Цена и наличие
Цену и наличие уточняйте у наших специалистов. Описание и фото товара носят информационный характер и могут отличаться от описания, представленного в технической документации производителя. Обращаем ваше внимание на то, что данный интернет-сайт носит исключительно информационный характер и ни при каких условиях не является публичной офертой, определяемой положениями Статьи 437 Гражданского кодекса Российской Федерации. Рекомендуем перед покупкой проверять характеристики товара у наших менеджеров.
